介紹
技術參數
| 型號 | AL1402 | 備注 |
| 規格 | DN50、DN80、DN100、DN125、DN150 | |
| 適用介質 |
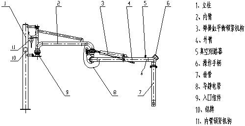
AL1402頂部裝車臂適用于汽、煤、柴油、液態化工介質,水煤漿等的汽、火車頂部裝卸。 AL1402襯四氟頂部裝車臂適用于強酸、氧化劑、堿等強腐蝕性介質的汽、火車頂部裝卸,內襯材料:PTFE、PO等。 |
|
| 設計溫度 | -40°C-190°C | |
| 設計壓力 | 0-2.5MPa | |
| 材質 | 20#、16Mn、不銹鋼 |


更多
地址:連云港市海州經濟開發通用產業園華陽路29號
電話:0518-82238248
手機:13812341809(劉經理)
郵箱:lygltwm@163.com